- 클린 아키텍쳐 책의 일부를 객체지향 설계원칙에 따라 테스트 주도 개발 방법론을 기반으로 예제를 작성한다.
- Koin
- Hamcrest
- Mockito
- Espresso
단일 책임 원칙 SRP - Single Responsibility Principle
- 모듈의 변경의 이유는 하나여야한다.
- 한명의 Actor의 요청에의한 변경으로 다른 Actor가 사용하는 Method가 영향 받을 수 있다.
- Employee Class 는 3가지의 변경 이유를 갖는다.
- 분리된 Class 에 책임을 위임하여 변경요청에 대해 서로를 분리한다.
- Facade 패턴을 이용하여 외부로부터 정보를 감춘다.
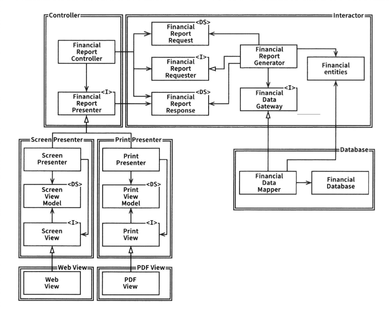
개방 폐쇠 원칙 OCP - Open Close Principle
- 확장에는 열려있어야하고, 변경에는 닫혀있어야한다(1988년 버트란트 마이어)
- '행위는 확장할 수 있어야하지만 이때 변경에는 닫혀있어야한다'는 뜻이다.
- 요구사항 : 웹으로 보여지던 출력물을 종이 프린터로도 출력 가능해야한다.
리스코브 치환 원칙 LSP - Liskov Substitution Principle
- License 타입을 구현한 PersnalLicense와 BusinessLicense 가 있고 License 타입을 정의한 프로그램 Billing 에서 PersnalLicense 자리에 BusinessLicense 로 대체하더라도 Bulling 의 행위가 변하지 않아야한다.
즉, 같은 부모를 상속, 구현한 객체는 다른 객체로 대체하더라도 부모를 사용하는 객체의 행위는 변하지 않아야한다.
- 정사각형은 직사각형을 상속받았다.
- 정사각형은 넓이와 높이가 다를 수 있지만 정사각형은 넓이와 높이가같다.
- 직사각형을 사용하는 사용자는 정사각형 대신 직사각형을 사용할 수 없다.
- Billing은 License 인퍼페이스를 참조하여 사용할때 PersonalLicense 나 BusinessLicense 둘중 어떤것을 사용하더라도 Billing 의 행동은 변경되지 않는다.
인터페이스 분리 원칙 ISP - Interface Segregation Principle
- 다수의 Client 가 특정 Class의 각각의 Method를 사용한다면 각각 Method 는 분리되어야한다.
- User1, User2, User3 은 OPS Class 에 각각 ops1, ops2, ops3을 사용한다.
- User1은 ops1만 사용하는데도 ops2, ops3 에대한 의존성을 갖게된다.







